Słuchajcie, słuchajcie mieszkańcy Khorinis! A nie, to nie tutaj miało być. Gdziekolwiek mieszkacie, oto przed Wami pierwszy odcinek Ekspresówki, czyli poniedziałkowy przegląd luźno zebranych wiadomości (około)motoryzacyjnych z ostatniego tygodnia, wraz z krótkim komentarzem. Taka ekspresowa prasówka na rozruch, czyli ekspresówka właśnie. W sam raz do porannej kawy i szybkiego przełączania na Excela, kiedy ktoś nadchodzi.
No to lecimy.
Na aukcję wystawiono osiem pomarańczowych Astonów Martinów

fot. Bonhams
Pojęcie „ekscentryczny kolekcjoner” znalazło właśnie swoją nową szaloną definicję. Osiem egzemplarzy różnych modeli Astona Martina polakierowanych na jednakowy pomarańczowy kolor z równie pomarańczowym wnętrzem dom aukcyjny Bonhams wystawi 8 października na sprzedaż. Przebieg każdego z nich jest iście homeopatyczny i zawiera się między 70 a 235 milami (nobliwej angielskiej marce jeszcze uchodzi trzymanie się systemu imperialnego). Spodziewana cena to od 40 do 120 tys. euro, zależnie od specyfikacji danego wozu. A ty naiwnie sądziłeś, że jesteś kompletnie odjechany, zakładając w piątek do pracy podkoszulkę na lewą stronę?
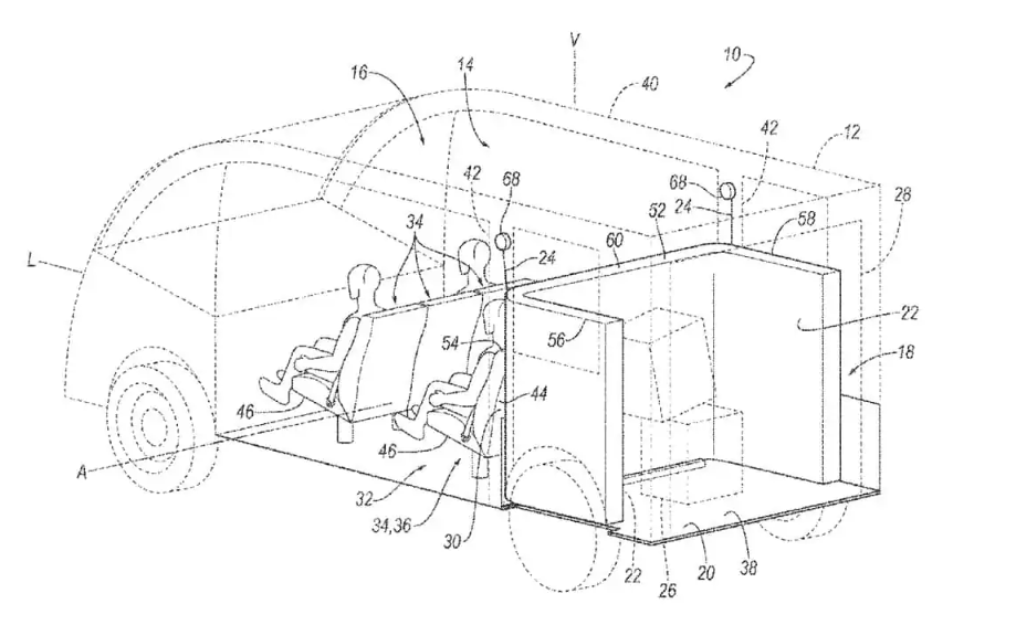
Ford patentuje zestaw zawieszenia dwuosiowego do pickupów oraz poduszkę powietrzną dla przestrzeni ładunkowej
Mamucie pickupy są nierozerwalnie kojarzone ze Stanami Zjednoczonymi jak flaga w paski i gwiazdki, McDonald’s czy rachunek ze szpitala opiewający na sześciocyfrową sumę w twardej walucie. Ford opatentował dwuosiowe tylne zawieszenie do swoich pickupów, zaś rysunki patentowe przedstawiają elementy z najpopularniejszego modelu F-150. Interesującą cechą tego pomysłu jest możliwość wyposażenia ostatniej osi w silnik elektryczny oraz akumulator, zmieniając tym samym stereotypowego pickupa do holowania całego Ohio w hybrydę plug-in. Mercedes G63 6×6 najwyraźniej nie oznacza jeszcze końca tej historii.
Kolejny patent Forda dotyczy poduszki powietrznej, umieszczonej w przestrzeni ładunkowej pod podłogą. W zamyśle ma to chronić pasażerów przed luźno przemieszczającymi się przy kolizji przedmiotami w bagażniku. Patent zakłada stosowanie tego rozwiązania w pojazdach osobowych oraz użytkowych, może ono również służyć ochronie samego towaru przed zniszczeniem. Niestety sam patent nie oznacza jeszcze, że urządzenie zostanie gdzieś faktycznie skonstruowane i użyte, zatem nadal pozostaje pisać reklamacje do firm kurierskich z powodu przesyłki, po której przemaszerował krokiem defiladowym pluton słoni.
Gotowa do wydania nowa Corvette Z06 spadła z podnośnika
Do zdarzenia doszło w jednym z salonów dealerskich w USA podczas sprawdzania i przygotowywania samochodu do wydania klientowi. Krótkie (12 sekund) nagranie z systemu telewizji przemysłowej pokazuje spadający z podnośnika nowy samochód, który upadek przypłaca rozdarciem poszycia drzwi po stronie pasażera, stłuczeniem szyby oraz bliżej niewiadomym w skutkach mocnym uderzeniem prawą tylną stroną o podłogę. To ostatnie może znacząco wpłynąć na sztywność nadwozia albo wręcz skłonić firmę ubezpieczeniową do ogłoszenia szkody całkowitej. Przyczyny upadku nie są jeszcze znane, choć zapewne chodzi tu po prostu o brak doświadczenia pracowników ASO z samochodami z silnikiem umieszczonym centralnie – a co za tym idzie, także z innym rozkładem masy i koniecznością podparcia podwozia w innych punktach.
Nie ma co się dąsać na długie terminy wydania samochodu, o których czasami informuje salon. Lepiej dać im czas na spokojne i dokładne wjechanie na podnośnik, jeśli zajdzie taka potrzeba. Swoją drogą, ponieważ nie jest to pierwszy taki przypadek dotyczący tego modelu Chevroleta, podobno niektórzy właściciele Corvetty C8 zaczęli we własnym zakresie zaznaczać na podwoziu odpowiednie punkty podparcia dla podnośników kolumnowych.
Walizkowa elektryczna motorynka Hondy o zasięgu 19 km
Honda Motocompacto to składana do formatu walizki motorynka, czy właściwie rodzaj urządzenia transportu osobistego, której sprzedaż rusza w listopadzie tego roku z ceną 995 dolarów. Czerstwego dowcipu o jeżdżeniu na motorynce nie będę tu przytaczał, ale warto przypomnieć wcześniejszy model tego producenta o podobnych założeniach – spalinowe Motocompo z roku 1981. Ważyło to wówczas 45 kg w stanie gotowym do jazdy i jak na walizkową motorynkę było zdecydowanie zbyt ciężkie i nieporęczne. W latach 2001 i 2011 podejmowano jeszcze próby tworzenia podobnych konceptów, ale dopiero Motocompacto z wagą niecałych 19 kg i cichym elektrycznym napędem oraz ładowaniem z domowego gniazdka ma jakieś szanse na znalezienie swojej niszy rynkowej. A skromny zasięg 19 kilometrów? I tak nikt by więcej nie wysiedział na jednego strzała, wszak to tylko walizka na kółkach.
Z programu „Młody Kierowca” w Wielkiej Brytanii skorzystał 98-latek
Don Mitchell kilka lat temu zdecydował o oddaniu prawa jazdy ze względów zdrowotnych – w wieku 94 lat stwierdził, że najwyższy czas zejść ze sceny niepokonanym i zrezygnował z samodzielnego prowadzenia. Pół wieku doświadczenia za kółkiem oraz wspomnienia ulubionego Morrisa Minora, którego serwisował własnoręcznie, nie dały jednak o sobie tak łatwo zapomnieć i panu Mitchellowi marzyło się, by jeszcze choć raz zająć miejsce na fotelu kierowcy.
Program „Młody Kierowca”, do którego zgłosił się pan Mitchell, pomyślany jest jako inicjatywa dla ludzi młodszych niż 17 lat, którzy dopiero zamierzają uzyskać prawo jazdy i po ulicach poruszają się tylko z instruktorem, wyposażonym po stronie pasażera w zestaw pedałów, czyli coś typowego dla każdej szkoły jazdy w polskich realiach. Nie określono jednak nigdzie górnej granicy wieku uczestnika i pan Mitchell skorzystał z tej swoistej luki w systemie. I tak trzeba żyć – „jeszcze w zielone gramy, chęć życia nam nie zbrzydła, jeszcze na strychu każdy klei połamane skrzydła”. Nawiasem mówiąc, dopiero w interpretacji Darii Zawiałow ten utwór brzmi jak należy, kiedy słychać w nim gniew, upór i niezgodę na porośnięcie mchem. W wykonaniu autora – z całym szacunkiem dla Wojciecha Młynarskiego – to jakaś przyśpiewka do kotleta z sanatorium w Ciechocinku.
Ktoś próbuje sprzedać Saaba 9-4X od niemal dwóch lat
Dealer samochodowy z Portland w stanie Oregon wystawił na sprzedaż Saaba 9-4X. O, proszę, tu link. Oferta rzetelnie opisana, zdjęcia jasne i wyraźne, choć formatu naklejki z gumy do żucia. Strona przenosi nas z powrotem do roku 2003, ale nie jest to niezwykłe w realiach USA, za to nawet na sprzęcie klasy „wooden PC” ładuje się w ujemnym czasie. Dodajmy do tego wóz wyprodukowany w ok. 800 egzemplarzach (z czego podobno 130 to auta testowe) przez firmę, która od lat nie istnieje, z dość egzotycznym jak na Stany silnikiem Opla (say what Joe?) i marką, która dziś prawie nikogo w USA nie obchodzi. Doprawdy nie wiem, co powstrzymuje tabuny klientów przed duszeniem się w drzwiach zarówno salonu dealera, jak i samego samochodu. Najwyraźniej za oceanem nie słyszeli o akcji Zapisz Saaba. A może po prostu chętni na takie auto woleli po prostu kupić Cadillaka SRX, tj. konstrukcyjnego bliźniaka Saaba 9-4X.




